去创作

用微信扫描二维码

分享至好友和朋友圈

这家网络小贷被责令改正

图片

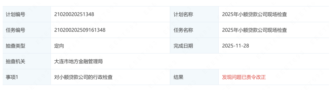
近日,企查查信息显示,在大连市地方金融监管局近期对小额贷款公司的行政检查中,德云晟小贷的检查结果一栏显示“发现问题已责令改正”。

图片

消金界发现,在同一批次的检查中,大连西岗杰源小贷也显示“发现问题已责令改正”。

而在今年4月根据大连市地方金融管理局发布的公告,大连中山锦联小额贷款股份有限公司、大连高新技术产业园区国融小额贷款股份有限公司、大连西岗杰源小额贷款有限公司3家小额贷款公司不符合开展创新业务条件,已被终止其开展互联网小额贷款业务试点。

企查查信息显示,德云晟小贷成立于2012年3月29日,并于2018年获得了互联网小贷试点。

其中上海点融信息科技为大股东,持股70%,其董事长为周国平。点融网是2013年上线,由Lending Club的联合创始人、前技术总裁苏海德与郭宇航共同创立的P2P平台。但消金界了解到,目前点融网早已退出,实际运营者另有他人。

德云晟小贷官网显示,公司旗下拥有赎楼贷、科技企业经营贷和云盛花等产品,前两个产品的年化利率在12%-15%之间。

此外,值得关注的是,近日,德云晟小贷陆续注册“德云晟小贷”“云盛花”等新商标。

当下,地方监管对于小额贷款公司的现场和非现场检查已成为常态。其中现场检查的重点包括小贷公司是否未经批准擅自变更公司经营地址、名称、股东、注册资本金、公司章程重大修订等重要事项;法定代表人、高级管理人或实际经营管理者是否与审批一致;公司法人治理机制情况;业务上是否存在吸收或变相吸收存款、是否有开展对外投资业务、是否违反贷款利率政策等等。

在2025年检查过程中,北京、重庆、广州等地都发布了大量“失联”“空壳”小额贷款公司名单。

当下,随着地方金融管理部门对小贷公司开展持续清理,体现出了净化小贷行业生态的强烈信号。小额贷款公司应持续筑牢合规基础。在业务发展层面,严格限定经营范围,守住业务红线。

更多精彩内容,关注 公众号(ID:yzcjapp)

以上内容仅供学习交流,不作为投资依据,据此操作风险自担。股市有风险,入市需谨慎! 点击查看风险提示及免责声明
热股榜
代码/名称 现价 涨跌幅
加载中...
加载中 ...
加载中...

二维码已过期

点击刷新

扫码成功

请在手机上确认登录

使用 APP扫码登录

在“我的”界面右上角点击扫一扫登录

  • 验证码登录
  • 密码登录

注册/登录 即代表同意《 网站服务使用协议》

找回密码

密码修改成功!请登录(3s)

用户反馈

0/200

APP下载

此为会员内容,加入后方可查看,请下载 APP进行加入

此为会员内容,请下载 APP加入圈子

扫码下载

更多功能与福利尽在APP端:

  • 精选会员内容实时推送
  • 视频直播在线答疑解惑
  • 达人一对一互动交流
关闭
/
Baidu
map